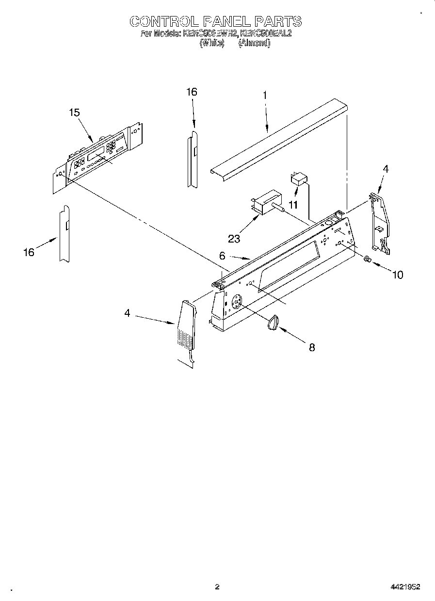
KERC500EAL2 02 – CONTROL PANEL