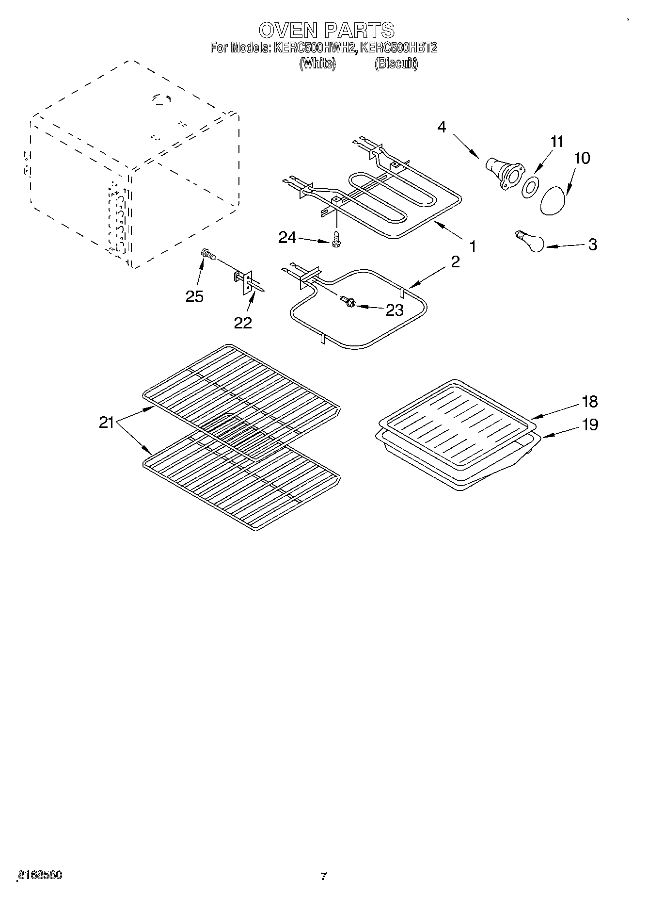
KERC500HBT2 05 – OVEN