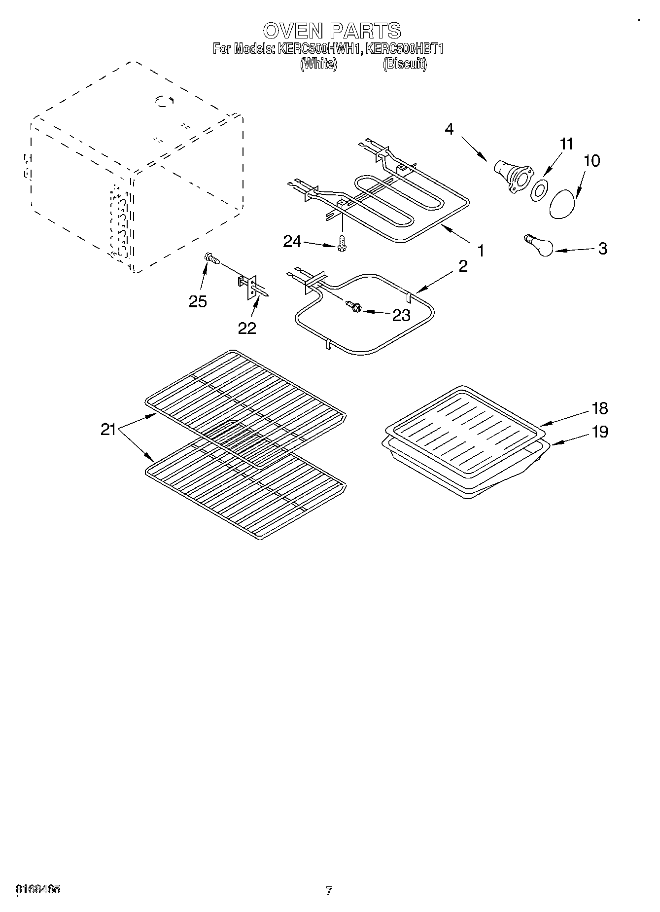
KERC500HWH1 05 – OVEN