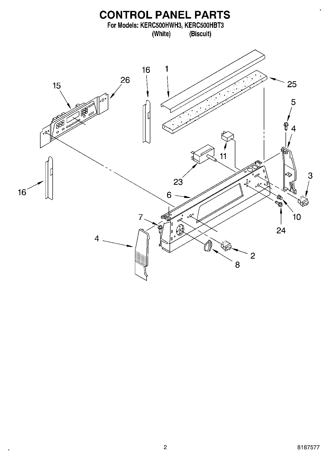
KERC500HWH3 02 – CONTROL PANEL