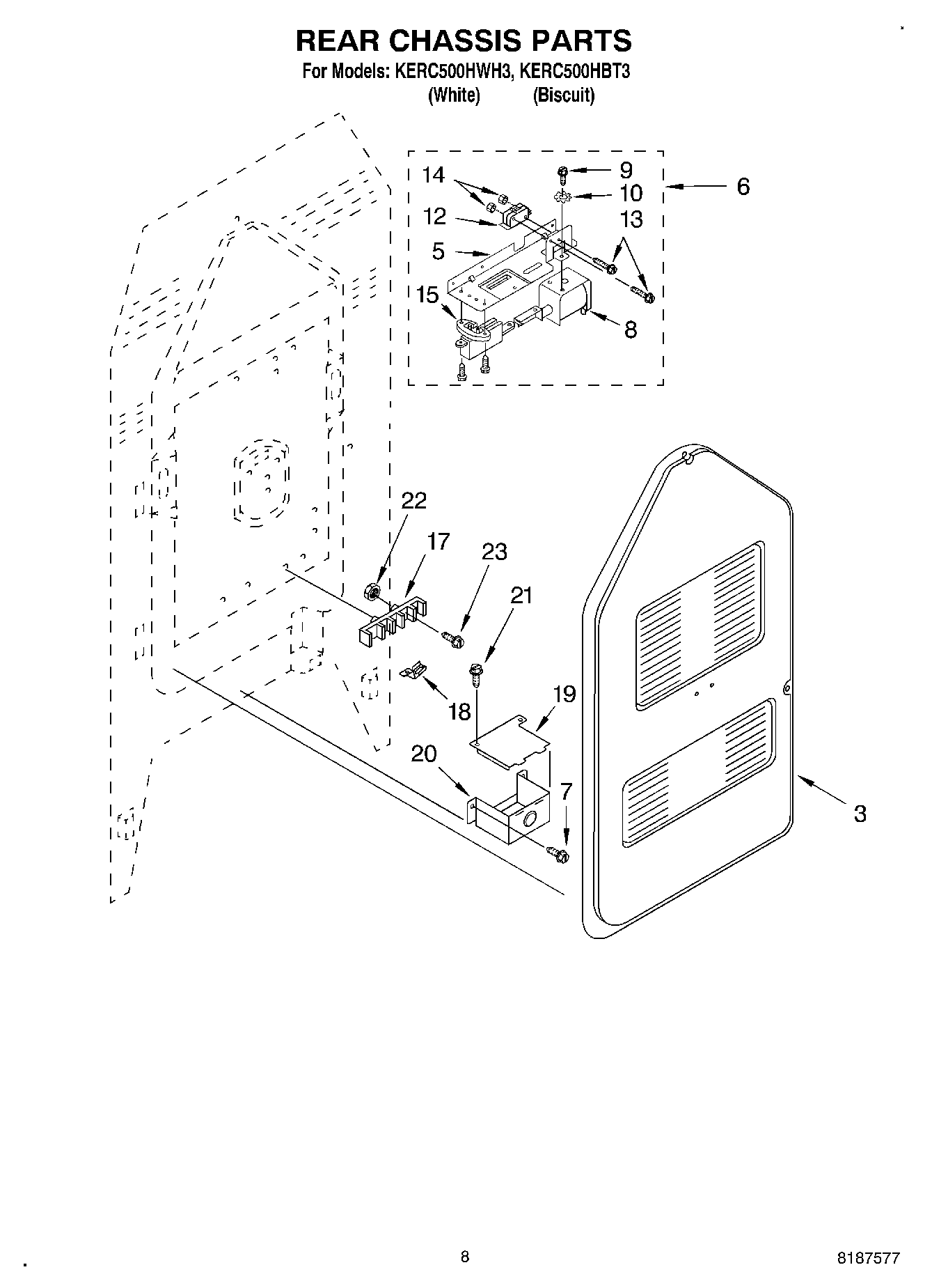
KERC500HWH3 06 – REAR CHASSIS, OPTIONAL

KERC500HWH3 06 – REAR CHASSIS, OPTIONAL