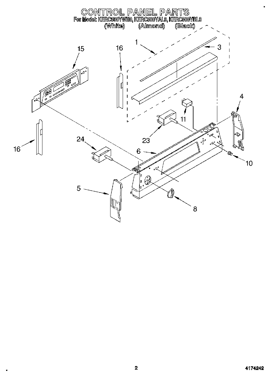
KERC500YAL0 02 – CONTROL PANELadmin2025-04-26T09:54:28+00:00KERC500YAL0 02 – CONTROL PANEL ProductsPositionProduct1Lamp Cover (Black)1Lamp Cover (Almond)1Lamp Cover (White)3Lamp Cover Insert (White)3Lamp Cover Insert (Almond)3Lamp Cover Insert (Black)4End Cap R.H. (Black)4End Cap R.H. (White)4End Cap R.H. (Almond)5End Cap L.H. (White)5End Cap L.H. (Almond)5WP4159387 Whirlpool Compactor Screw5End Cap L.H. (Black)6Panel, Control (Almond)6Panel, Control (White)6Panel, Control (Black)6Panel, Control (Screw, (2) 8 x 3/8)8WP9750372FW Whirlpool Knob Assembly8Knobs, Control (Black)8Knobs, Control (Almond)10WP9750343 Whirlpool Light Lens11Light Module15Oven Control Assembly (Black)15Oven Control Assembly (Almond)15Oven Control Assembly (White)16Brace, Control Pnl23WP9750639 Whirlpool Infinite Switch24WP9750641 Whirlpool Infinite Switch24Infinite Switch (Screw (8) 8-32 x 3/16)