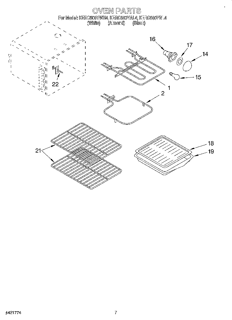
KERC500YAL4 05 – OVEN