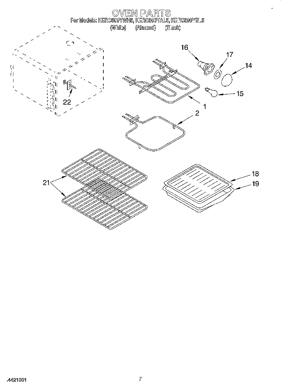
KERC500YAL5 05 – OVEN