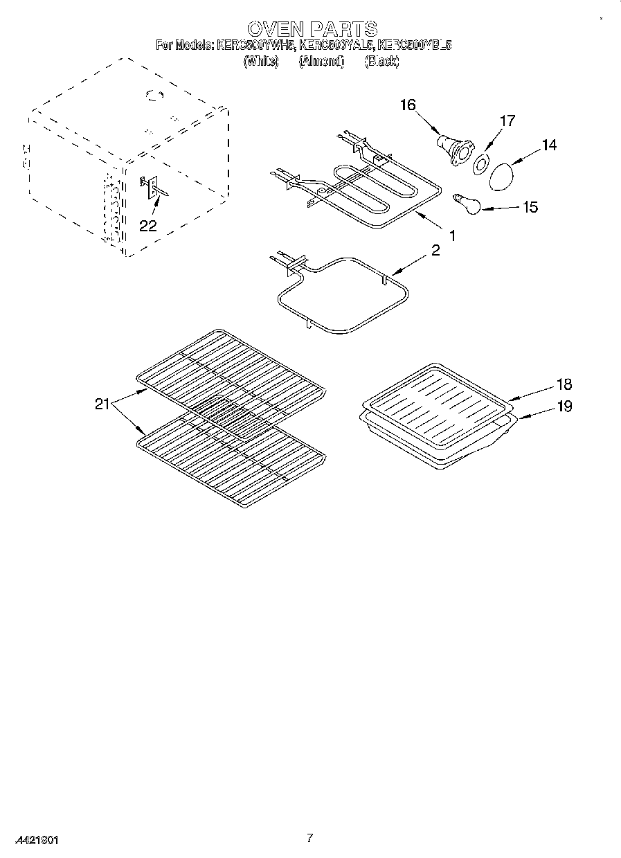
KERC500YWH5 05 – OVEN