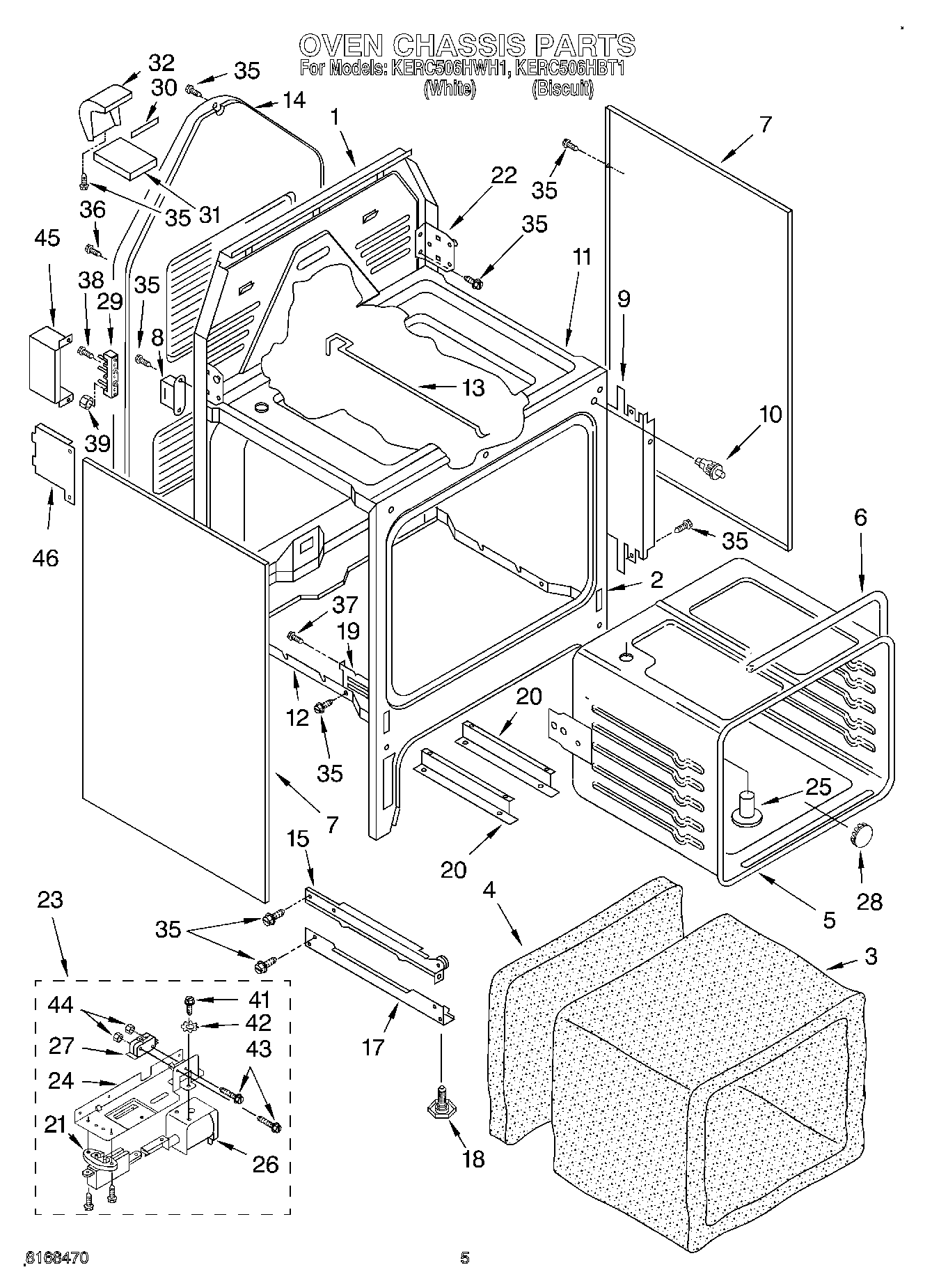
KERC506HBT1 04 – OVEN CHASSISadmin2025-04-26T09:56:37+00:00KERC506HBT1 04 – OVEN CHASSIS
Products
| Position | Product |
|---|
| 1 | Main Chassis, Back |
| 2 | Chassis, Front |
| 3 | Insulation, Wrap |
| 4 | Insulation, Rear |
| 5 | Oven Liner |
| 6 | Gasket, Oven |
| 7 | Body, Side (Biscuit) |
| 7 | Body, Side (White) |
| 8 | Ballast |
| 9 | Shield, Insulation |
| 10 | Door Switch (Oven Light) |
| 11 | Burner Box |
| 12 | Oven Bottom |
| 13 | Rod, Lock |
| 14 | Panel, Rear |
| 15 | Drawer Rail, Left |
| 15 | Rail, Drawer (Right) |
| 17 | Bottom Rail (2) |
| 18 | WPW10058460 Whirlpool Appliance Levelling Leg |
| 19 | Hinge, Receiver (2) |
| 20 | Support Rail |
| 21 | Single Position Device (Not Serviced) |
| 22 | Hinge, Cktp.-Left |
| 22 | Hinge, Cktp.-Right |
| 23 | Oven Lock Assembly (Includes No.21) |
| 24 | Bracket, Lock |
| 25 | Vent Tube |
| 26 | Solenoid |
| 27 | Switch, Interlock |
| 28 | Button, Plug |
| 29 | WP8203546 Whirlpool Terminal Block |
| 30 | Vent Gasket |
| 31 | Cover, Vent |
| 32 | Back, Vent |
| 35 | WP4159387 Whirlpool Compactor Screw |
| 36 | Screw, (2) |
| 37 | Screw (4) 10 x 1/2 |
| 38 | Screw, (2) 10-16 x 1 |
| 39 | WP112432 Whirlpool Nut Assembly |
| 41 | Screw (2) 10-32 x 5/16 |
| 42 | Washer (2) |
| 43 | Screw, (2) |
| 44 | Nut (2) |
| 45 | WPL 9752344 |
| 46 | Cover, Terminal Box |