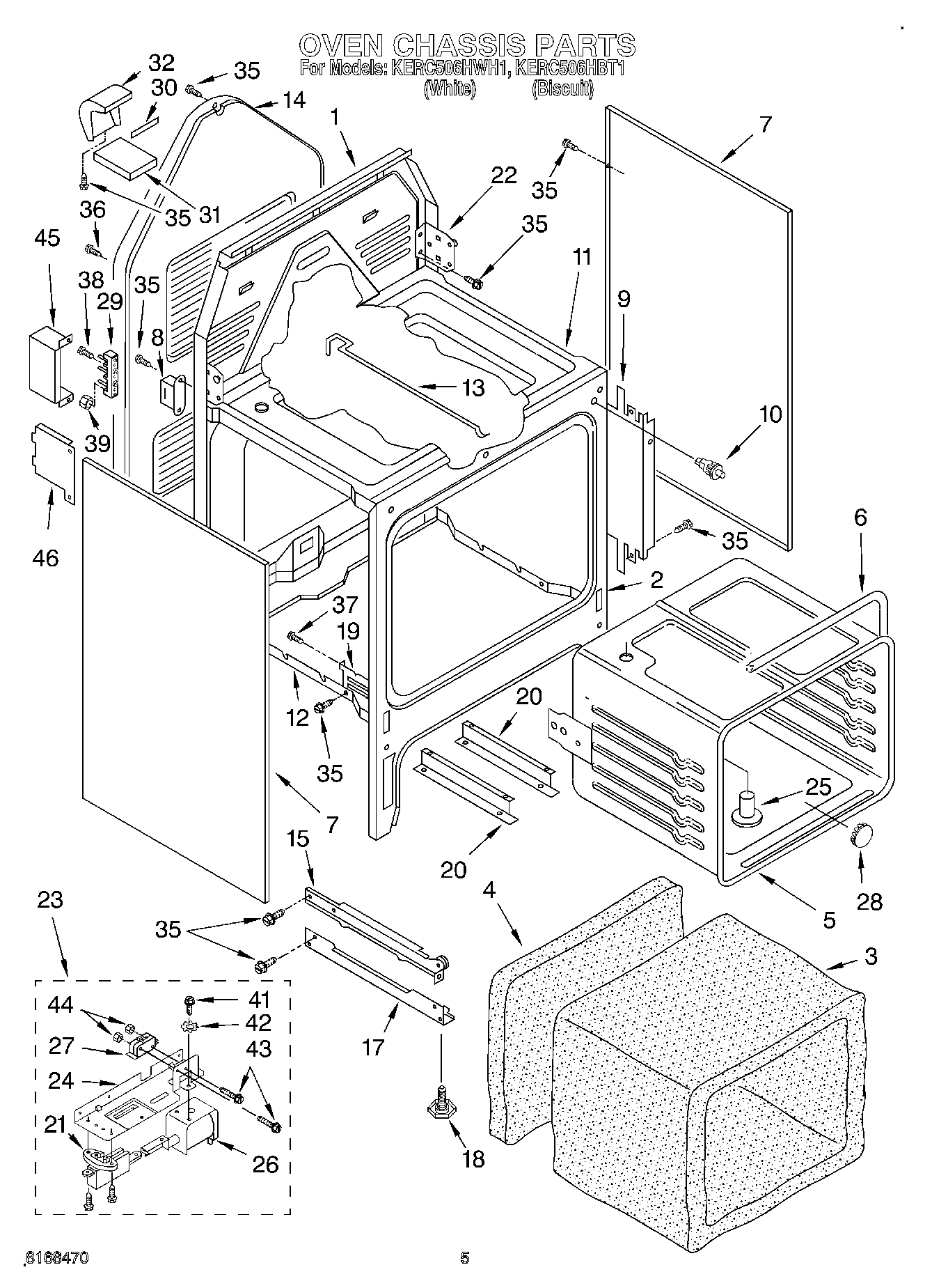
KERC506HWH1 04 – OVEN CHASSIS