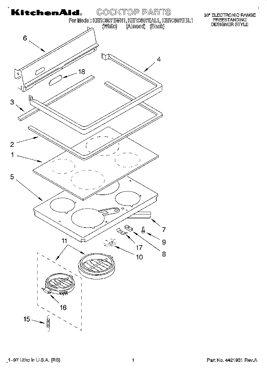
KERC507EAL1 01 – COOKTOP