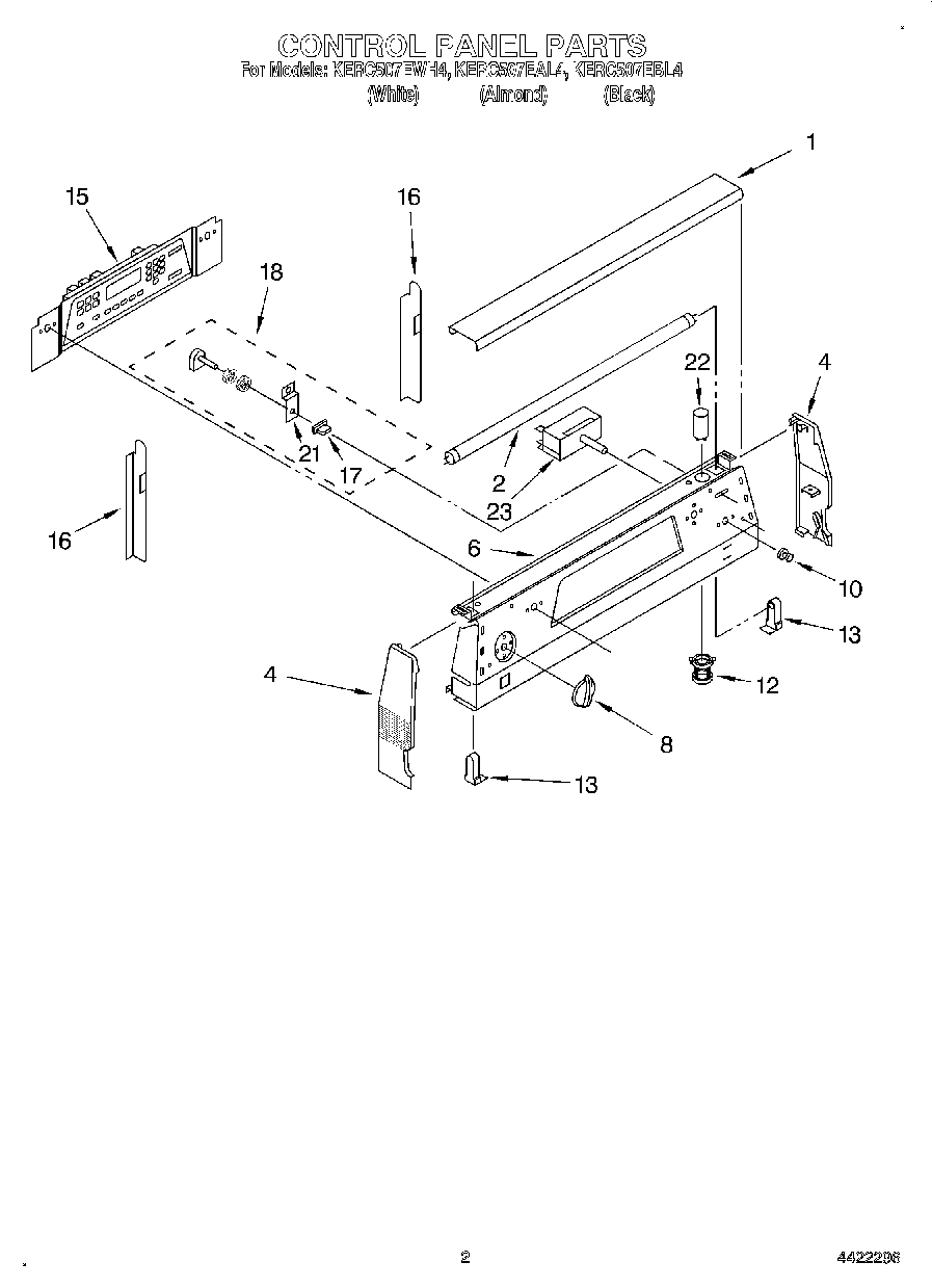
KERC507EAL4 02 – CONTROL PANEL