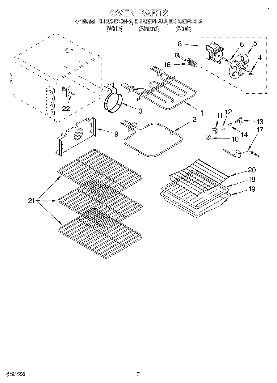
KERC507EWH2 05 – OVEN