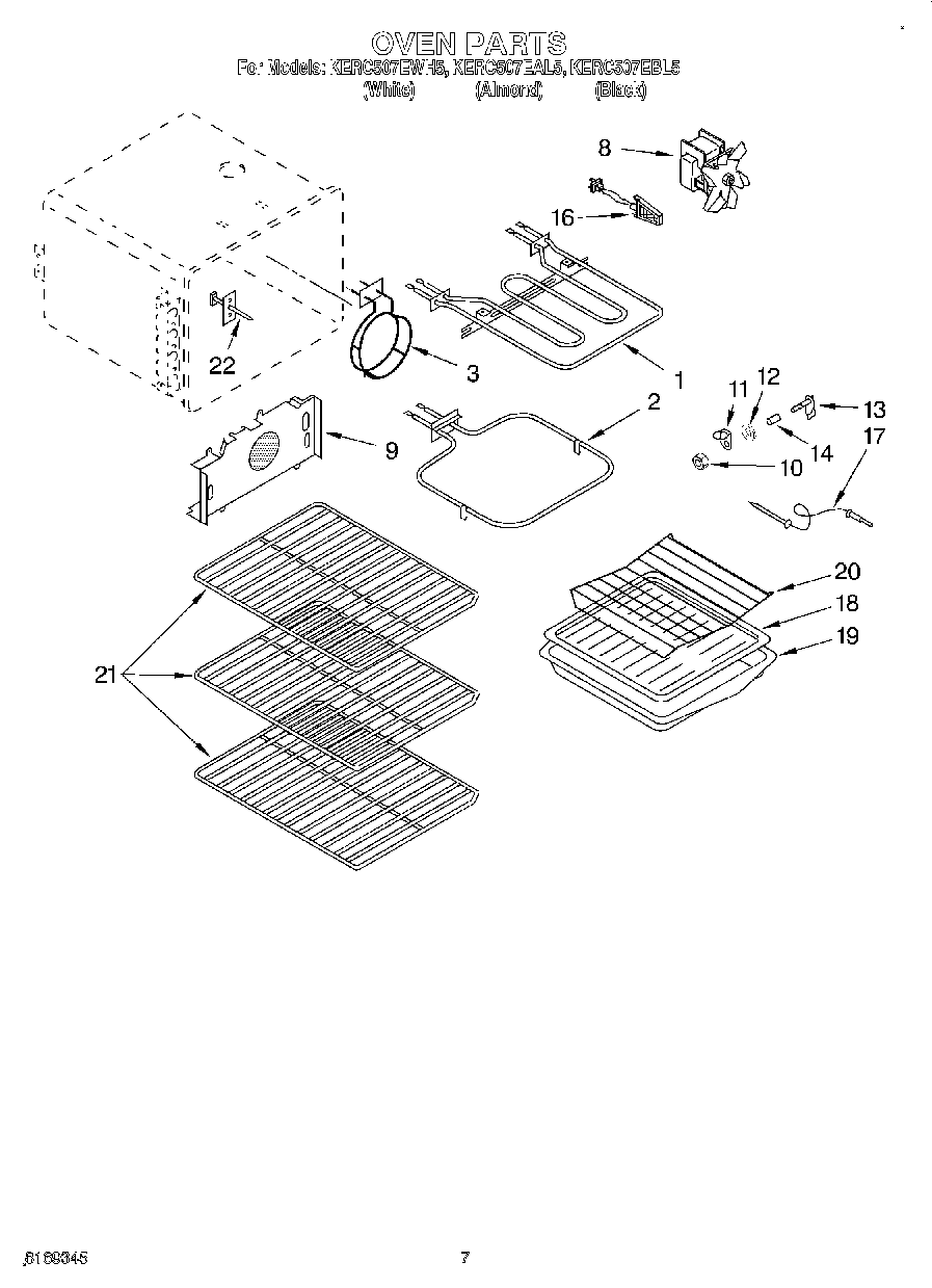
KERC507EWH5 05 – OVEN