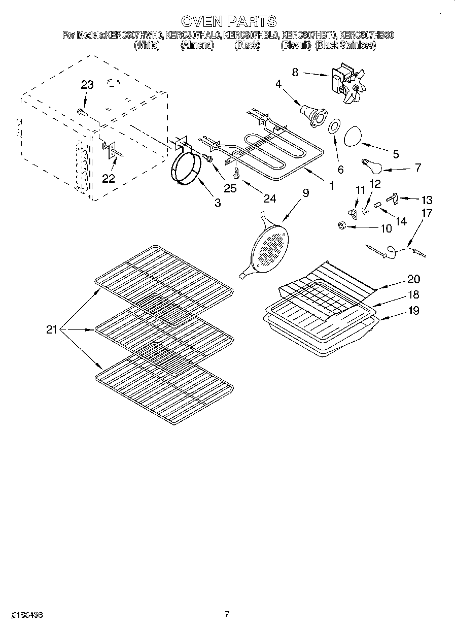
KERC507HAL0 05 – OVEN