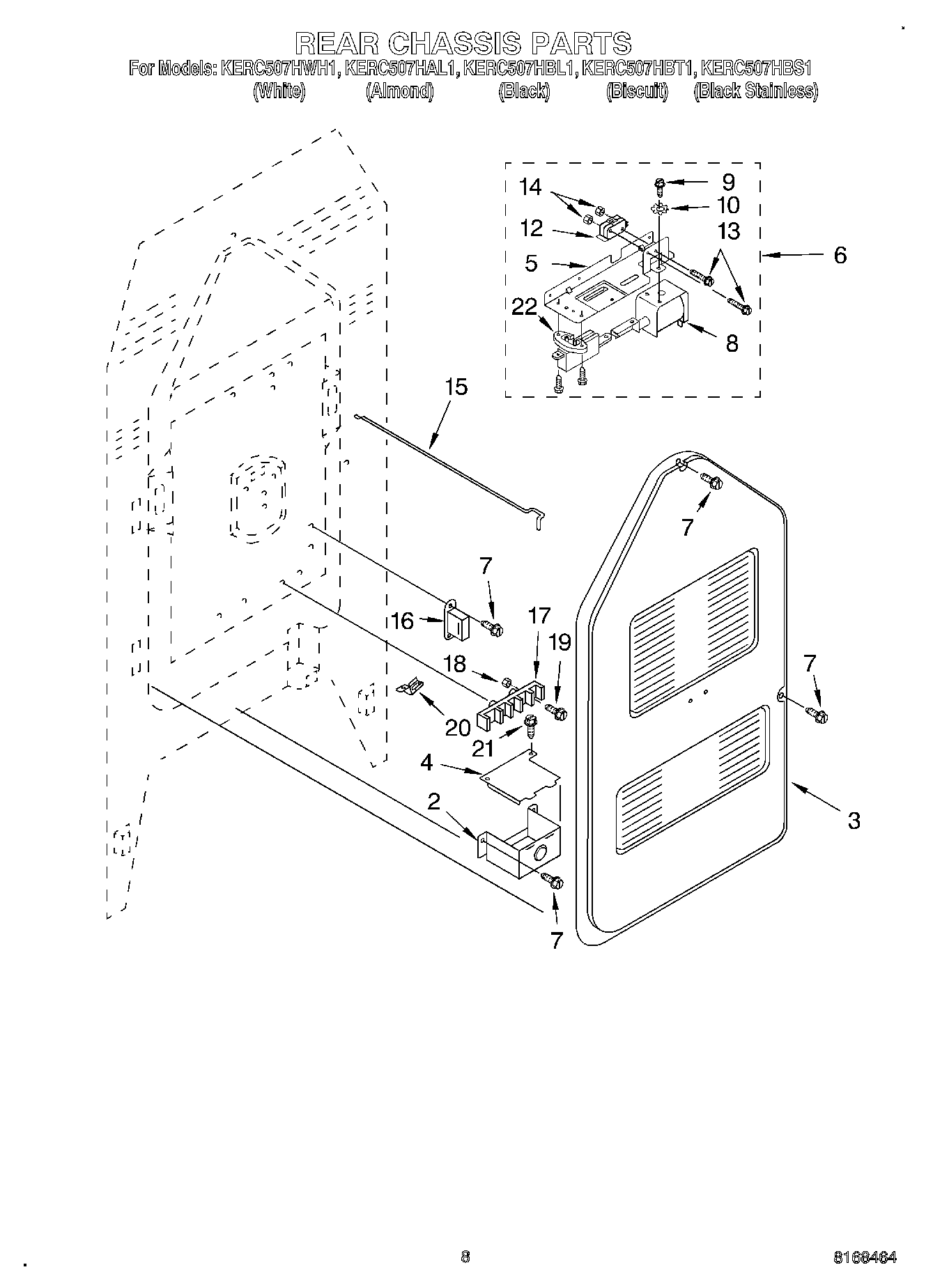
KERC507HAL1 06 – REAR CHASSIS