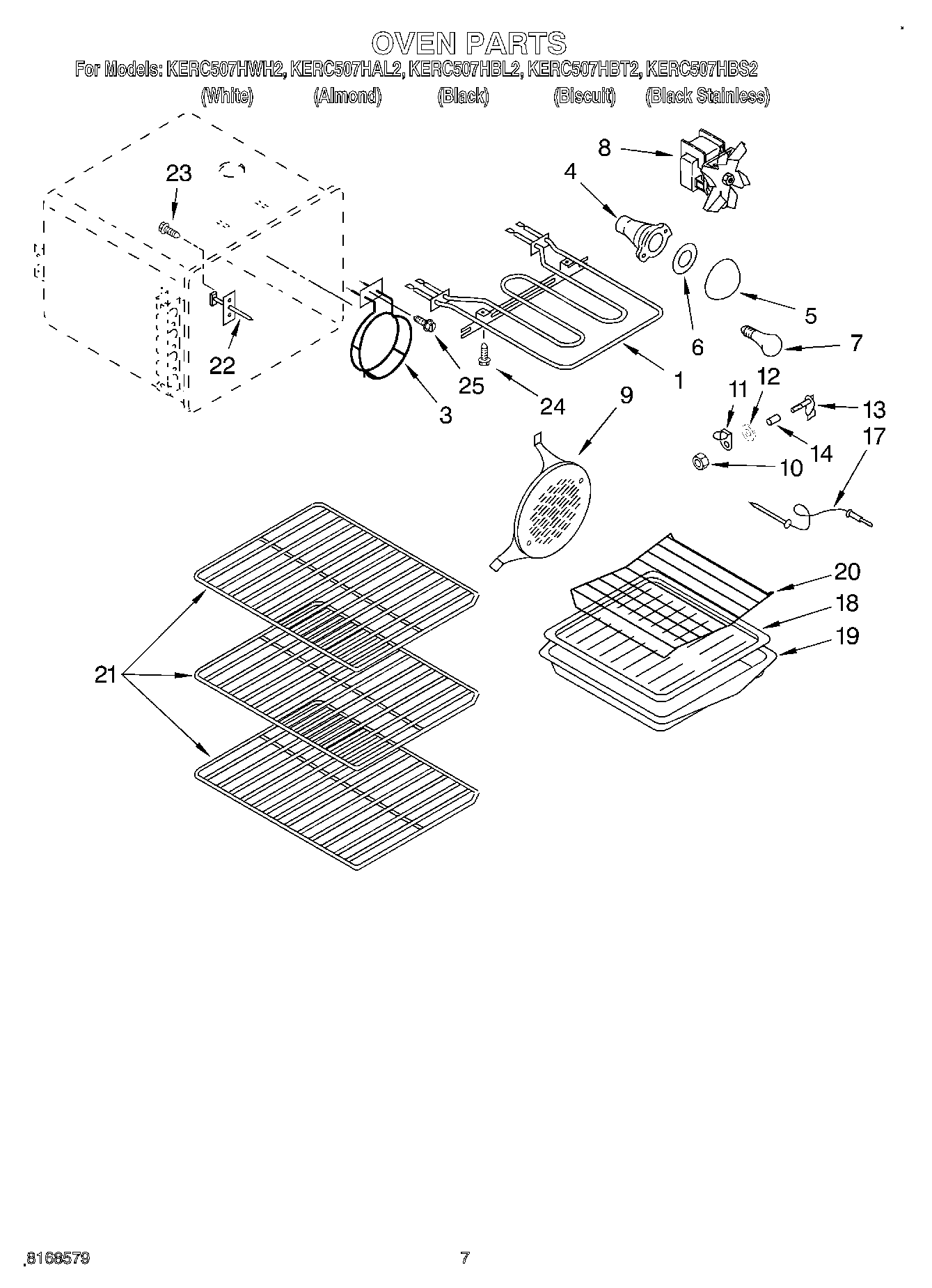
KERC507HAL2 05 – OVEN