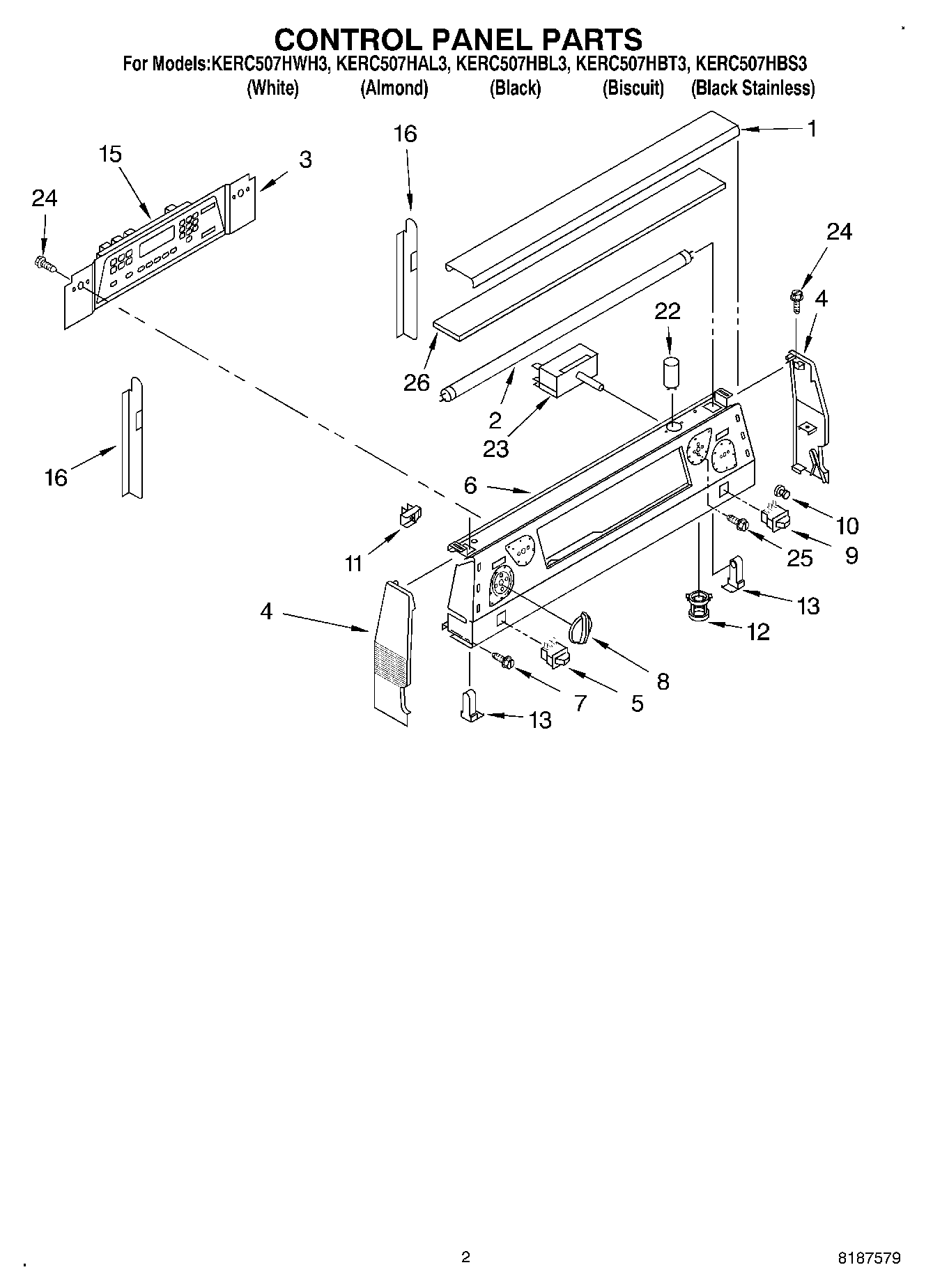
KERC507HAL3 02 – CONTROL PANEL