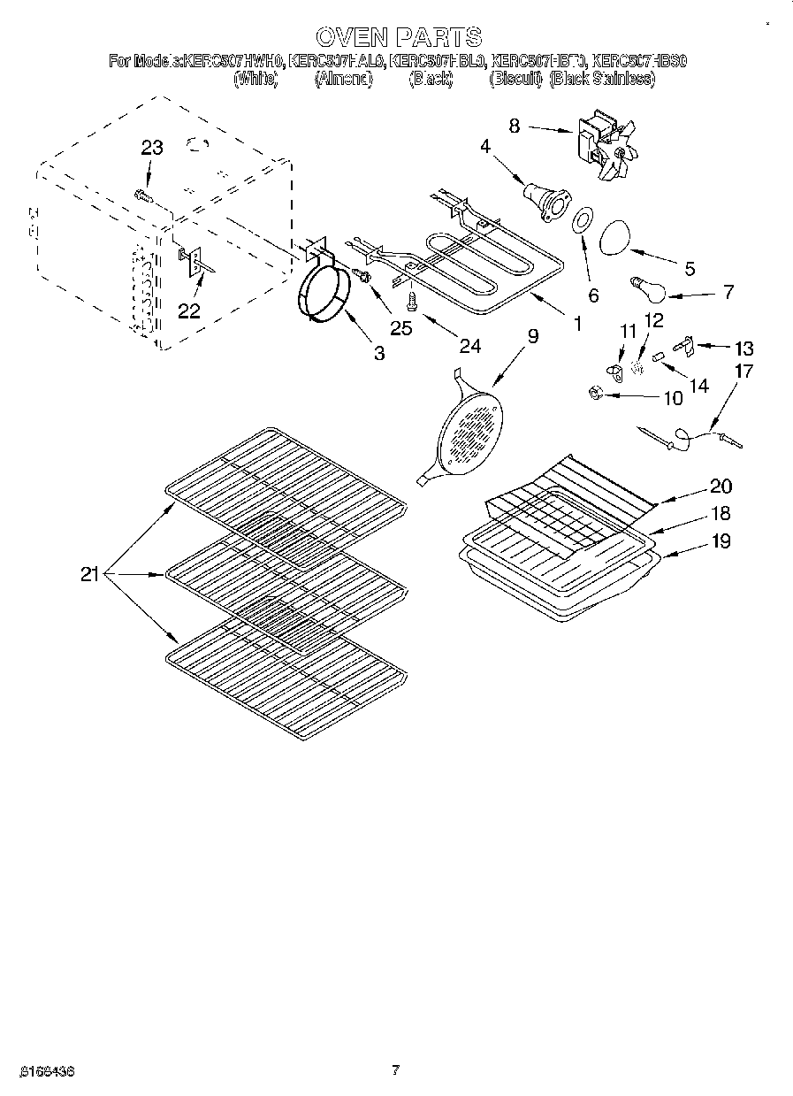
KERC507HBL0 05 – OVEN