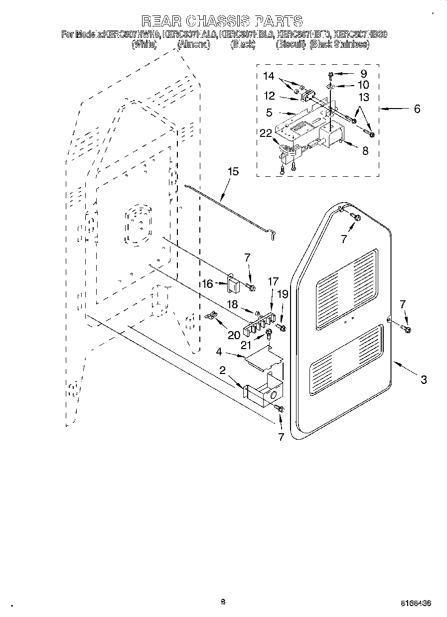
KERC507HBS0 06 – REAR CHASSISadmin2025-04-26T09:53:08+00:00KERC507HBS0 06 – REAR CHASSIS ProductsPositionProduct2WPL 97523443Panel, Rear4Cover, Terminal Box5Bracket, Lock6Oven Lock Assembly (Includes No.21)7WP4159387 Whirlpool Compactor Screw8Solenoid9Screw (2) 10-32 x 5/1610Washer (2)12Switch, Interlock13Screw, (2)14Nut (2)15Rod, Lock16Ballast17WP8203546 Whirlpool Terminal Block18WP112432 Whirlpool Nut Assembly19Screw, (2) 10-16 x 120Ground Strap21Screw, 10-16 x 122Single Position Device (Not Serviced)