KERC507HBT3 07 – HIDDEN BAKEadmin2025-04-26T09:52:38+00:00KERC507HBT3 07 – HIDDEN BAKE
Products
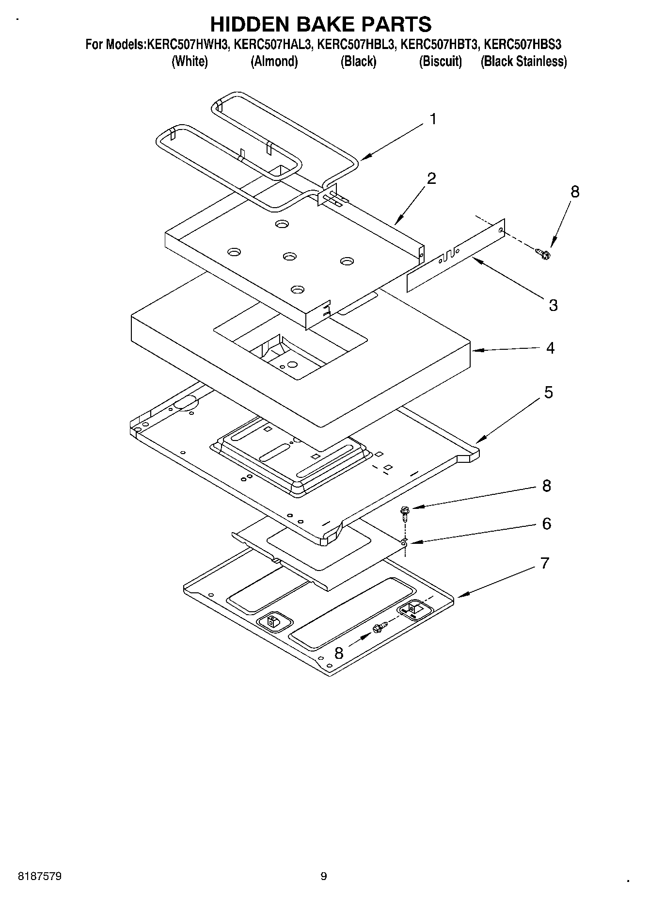
| Position | Product |
|---|
| 1 | Element, Bake |
| 2 | Pan, Hidden Bake |
| 3 | Cover, Hidden Bake |
| 4 | Insulation |
| 5 | Retainer, Insulation |
| 6 | Plate, Reflector |
| 7 | Shield |
| 8 | WPL 9752365 |
| 8 | WPL 9782123 |
| 8 | 1 |
| 8 | Wire (14 Ga. 200 c Brown) |
| 8 | 18 Ga. 80~c Rating (Red) |
| 8 | Wire (12 Ga. 150 c Black) |
| 8 | Wire (14 Ga. 150 c Yellow) |
| 8 | Wire (14 Ga. 150 c Orange) |
| 8 | WPL 9753683 |
| 8 | WPL 9753921 |
| 8 | WPL 9752771 |
| 8 | Grease |
| 8 | WPL 9753680 |
| 8 | 8212471 Whirlpool Oven Paint |
| 8 | WPL 9782080 |
| 8 | WPL 9781930 |
| 8 | WPL 9753687 |
| 8 | WPL 9753682 |
| 8 | WPL 9752772 |
| 8 | Wire (14 Ga. 150 c Green) |
| 8 | Wire (14 Ga. 150 c Brown) |
| 8 | WPL 799832 |
| 8 | PAINT, BULK (1 QT.) (BISCUIT (UNCUT)) |
| 8 | 511873 Whirlpool Refrigerator Paint |
| 8 | 4392901 Whirlpool Biscuit Spray Paint |
| 8 | 4392899 Whirlpool Biscuit Touch-Up Paint |
| 8 | 350942 Whirlpool Spray Paint |
| 8 | Almond (Uncut) |
| 8 | WP72107 Whirlpool Touchup |
| 8 | 799344 Whirlpool Refrigerator Paint |
| 8 | 72017 Whirlpool Appliance Touch-Up Paint White |
| 8 | 350956 Whirlpool Spray Assembly |
| 8 | WPW10208653 Whirlpool Insulation |
| 8 | FOIL, ALUMINUM OVEN (18`` X 25 ) |
| 8 | Wire, 25` Roll (Black 14 Ga.) |
| 8 | Wire (14 Ga. 150 c Blue) |
| 8 | 242831 Whirlpool Oven Wire |
| 8 | Clip, Ground Wire |
| 8 | WPL 9751745 |
| 8 | WPL 9750376 |
| 8 | WP4159387 Whirlpool Compactor Screw |
| 8 | W10355051 Whirlpool Cooktop Cleaner Affresh (10 Oz) |
| 8 | 285006 Whirlpool Spray |
| 8 | WPW10339879 Whirlpool Wire Tie |
| 8 | Wire, 25`` Roll (White 14 GA.) |
| 8 | Wire, 25` Roll (Red 14 Ga.) |
| 8 | 350930 Whirlpool White Spray Paint |