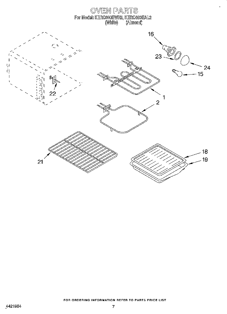
KERC600EAL2 05 – OVEN