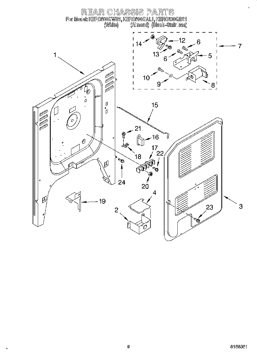
KERC600GBS1 05 – REAR CHASSIS