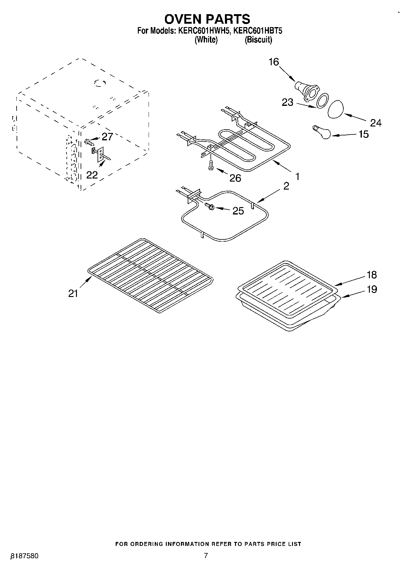
KERC601HBT5 04 – OVEN