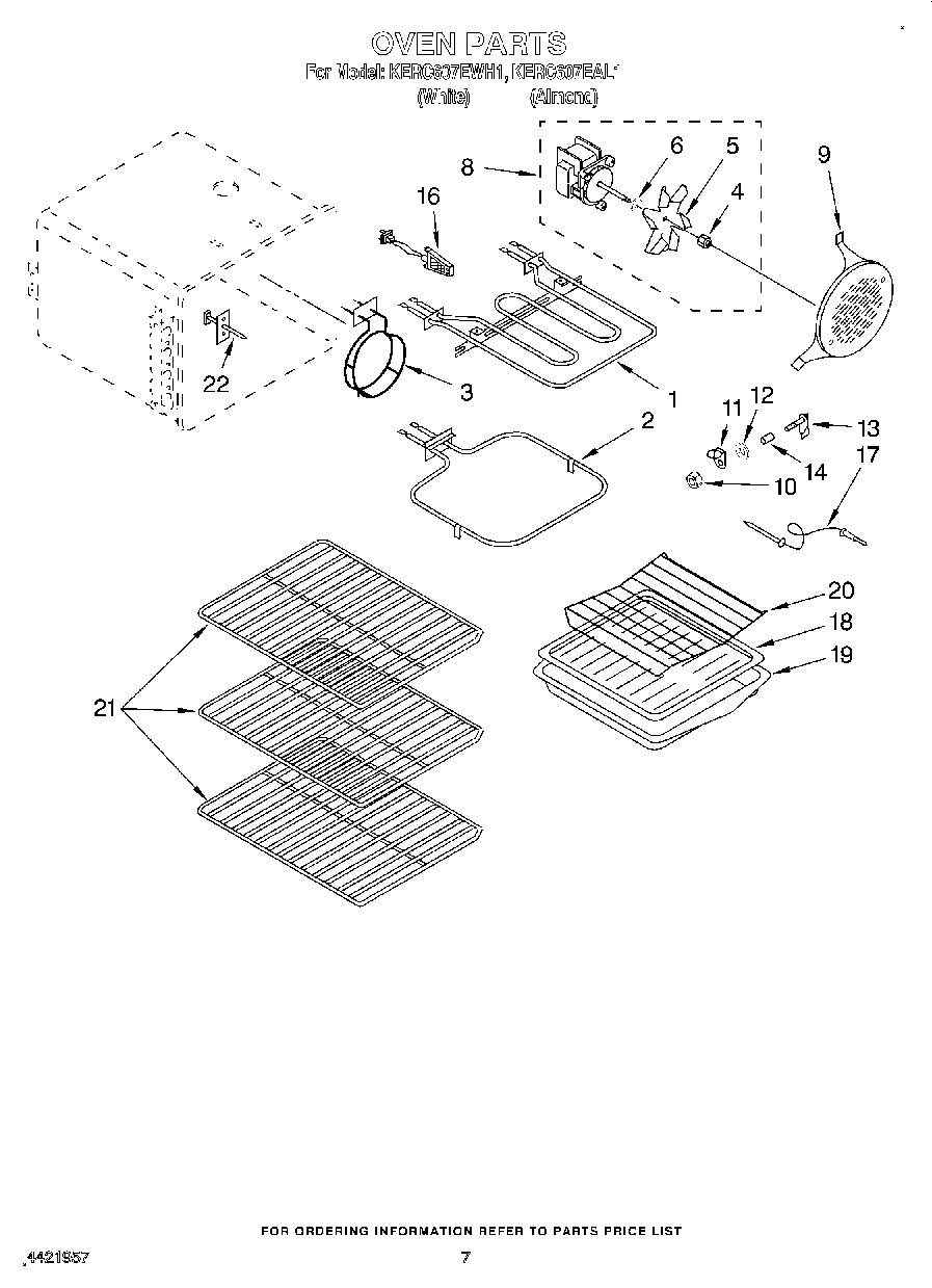
KERC607EWH1 05 – OVEN