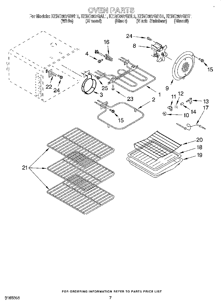
KERC607GBS1 04 – OVEN