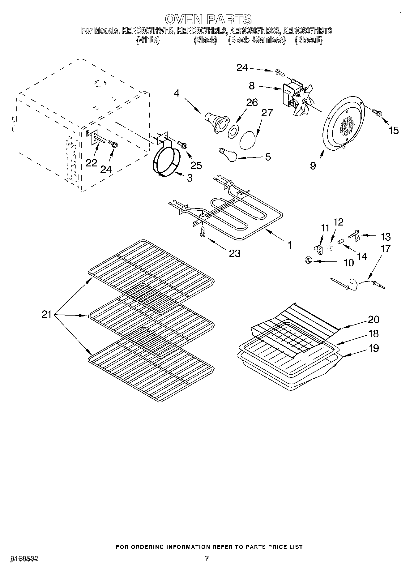
KERC607HBL3 04 – OVEN