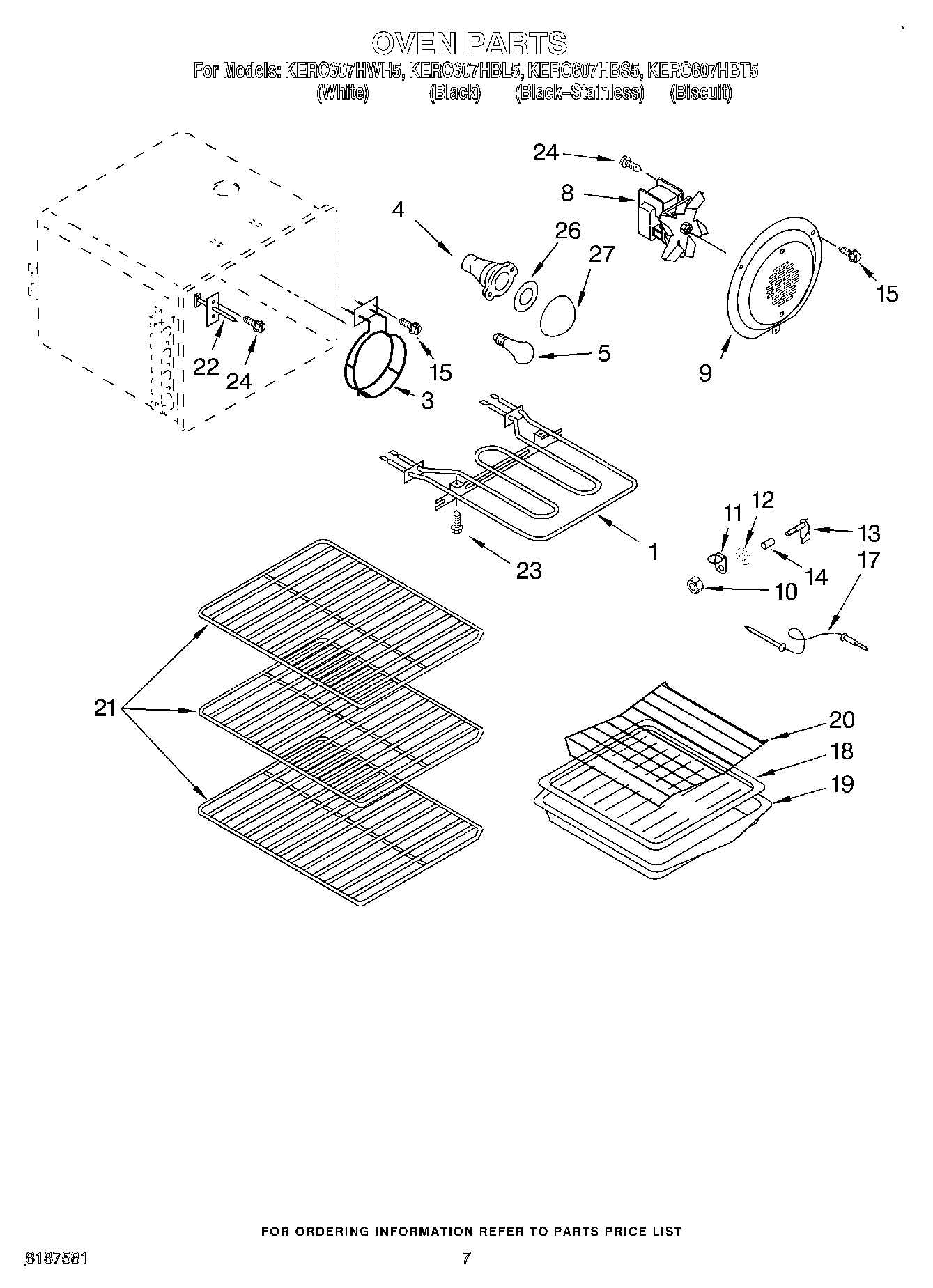
KERC607HBL5 04 – OVEN