KERC607HBL8 01 – COOKTOP, LITERATUREadmin2025-04-26T09:56:14+00:00KERC607HBL8 01 – COOKTOP, LITERATURE
Products
| Position | Product |
|---|
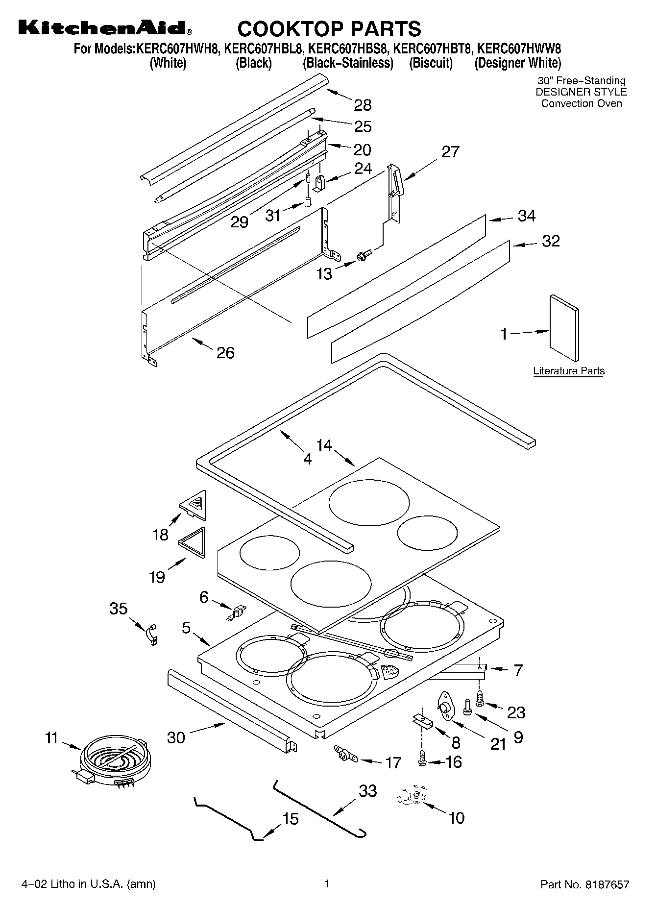
| 1 | Safer Cooking Tips |
| 1 | WPL LIT9752775 |
| 1 | Literature Parts (Use & Care Guide) |
| 1 | Literature Parts (Tech Sheet) |
| 1 | Literature Parts (Wiring Diagram) |
| 1 | Literature Parts (Installation Instructions) |
| 4 | WP9780939 Whirlpool Cooktop Gasket |
| 5 | Support, Element |
| 6 | Bracket, Pivot |
| 6 | Washer, Pivot |
| 7 | Brace, Support |
| 8 | Support Clips (4) |
| 9 | 238614 Whirlpool Bumper Hinge |
| 10 | Hot Light |
| 11 | W10823692 Whirlpool Dual Radiant Element |
| 11 | W10823697 Whirlpool Surface Element |
| 11 | W10823698 Whirlpool Surface Element Right Rear |
| 11 | W10823699 Whirlpool Right Front Surface Element |
| 14 | Cooktop, Ceran (Biscuit) |
| 14 | Cooktop, Ceran (White) |
| 14 | Cooktop, Ceran (Black) |
| 14 | Cooktop, Ceran (Designer White) |
| 15 | Rod, Large Ceran Element |
| 16 | Screw, 10-16 x 1 |
| 17 | WP4159387 Whirlpool Compactor Screw |
| 17 | Thermostat SPST (205) |
| 18 | Cover, Vent |
| 19 | Gasket, Vent Cover |
| 20 | Backsplash (Biscuit) |
| 20 | Backsplash (White) |
| 20 | Backsplash (Black) |
| 21 | WP9759944 Whirlpool Thermostat |
| 23 | Screw (4) 10 x 1/2 |
| 24 | Receptacle, Light |
| 25 | WP95292 Whirlpool Fluorescent Light Bulb |
| 26 | Cover, Backsplash |
| 27 | Endcap, Backsplash (Biscuit, Right) |
| 27 | Endcap, Backsplash (White, Left) |
| 27 | Endcap, Backsplash (Black, Right) |
| 27 | Endcap, Backsplash (White, Right) |
| 27 | Endcap, Backsplash (Biscuit, Left) |
| 27 | Endcap, Backsplash (Black, Left) |
| 28 | Cover, Light (Biscuit) |
| 28 | Cover, Light (Black) |
| 28 | Cover, Light (White) |
| 29 | Starter, Light |
| 30 | WPL 9751276PC |
| 30 | WPL 9751276PB |
| 30 | WPL 9751275PC |
| 30 | Trim, Cooktop (Black (Right)) |
| 30 | Trim, Cooktop (White (Right)) |
| 30 | (Trim, Cooktop (Left Hand)) (White) |
| 31 | Starter, Holder |
| 32 | Glass, Backsplash |
| 32 | WPL 9782021 |
| 33 | Rod, Small Ceran Element |
| 34 | WPL 9753291 |
| 35 | 8528351 Whirlpool Clip |