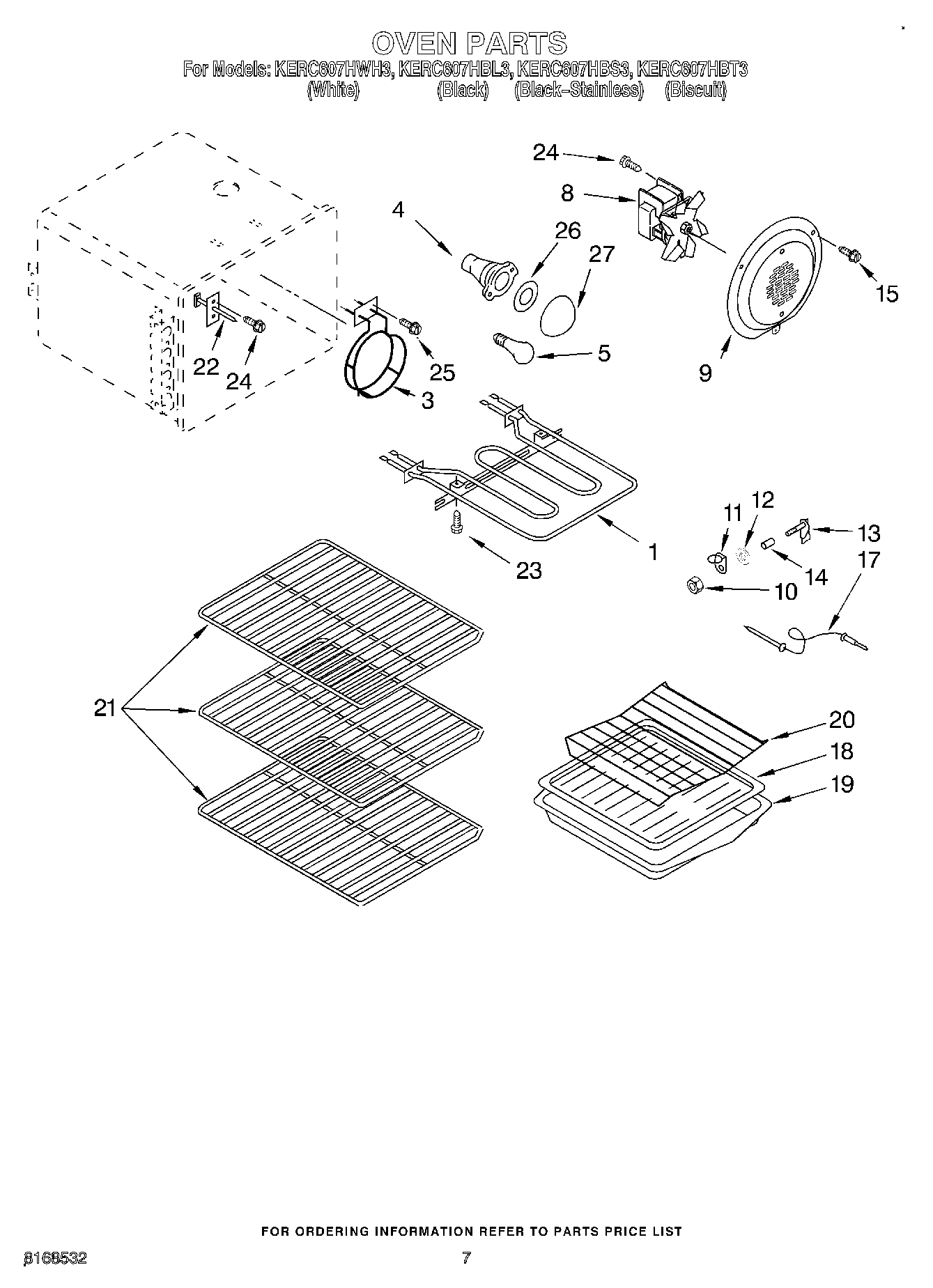
KERC607HBS3 04 – OVEN