KERC607HBT0 06 – CONTROL PANELadmin2025-04-26T09:54:51+00:00KERC607HBT0 06 – CONTROL PANEL
Products
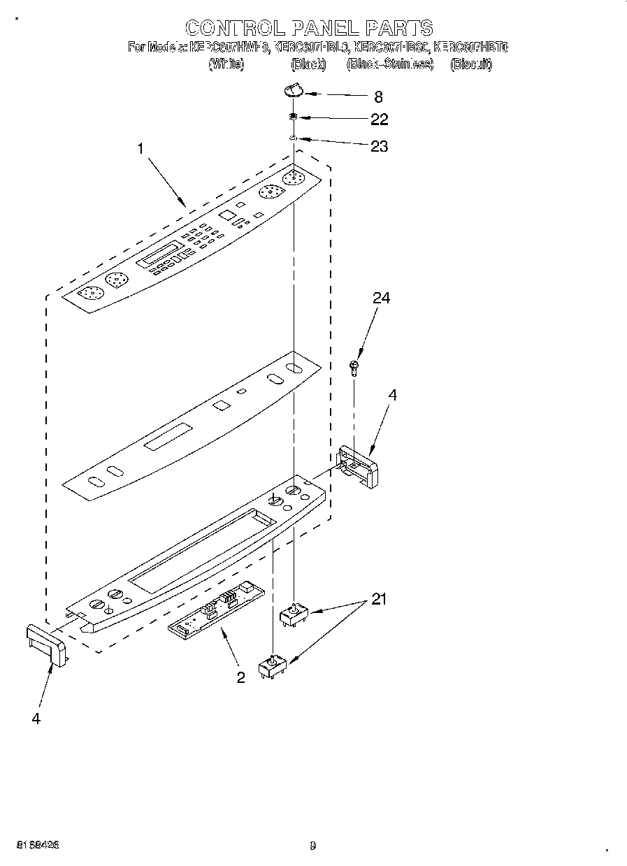
| Position | Product |
|---|
| 1 | Console, Glass (Black Stainless) |
| 1 | Console, Glass (White) |
| 1 | Console, Glass (Biscuit) |
| 1 | Console, Glass (Black) |
| 2 | Timer, Electronic |
| 2 | Screw |
| 4 | End Cap (Biscuit, Right) |
| 4 | End Cap (Black, Right) |
| 4 | End Cap (Biscuit, Left) |
| 4 | End Cap (White, Right) |
| 4 | End Cap (Black, Left) |
| 4 | End Cap (Left Hand) (White) |
| 4 | Console, Glass (Spacer) |
| 8 | WP9750372FC Whirlpool Knob |
| 8 | WP9750372FW Whirlpool Knob Assembly |
| 8 | WP9750372FF Whirlpool Knob |
| 21 | Switch, Infinite (2100-2600W, LF) |
| 21 | 8203536 Whirlpool Infinite Switch Primary |
| 21 | Switch, Infinite (1250-1500W, LR) |
| 21 | Switch, Infinite (1700W, RF) |
| 22 | Nut, Mounting (Dual Element) |
| 22 | Nut, Mounting (Single Element) |
| 23 | Seal, Switch (4) |
| 24 | WP4159387 Whirlpool Compactor Screw |