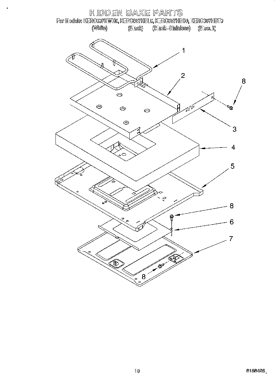
KERC607HBT0 07 – HIDDEN BAKE

KERC607HBT0 07 – HIDDEN BAKE