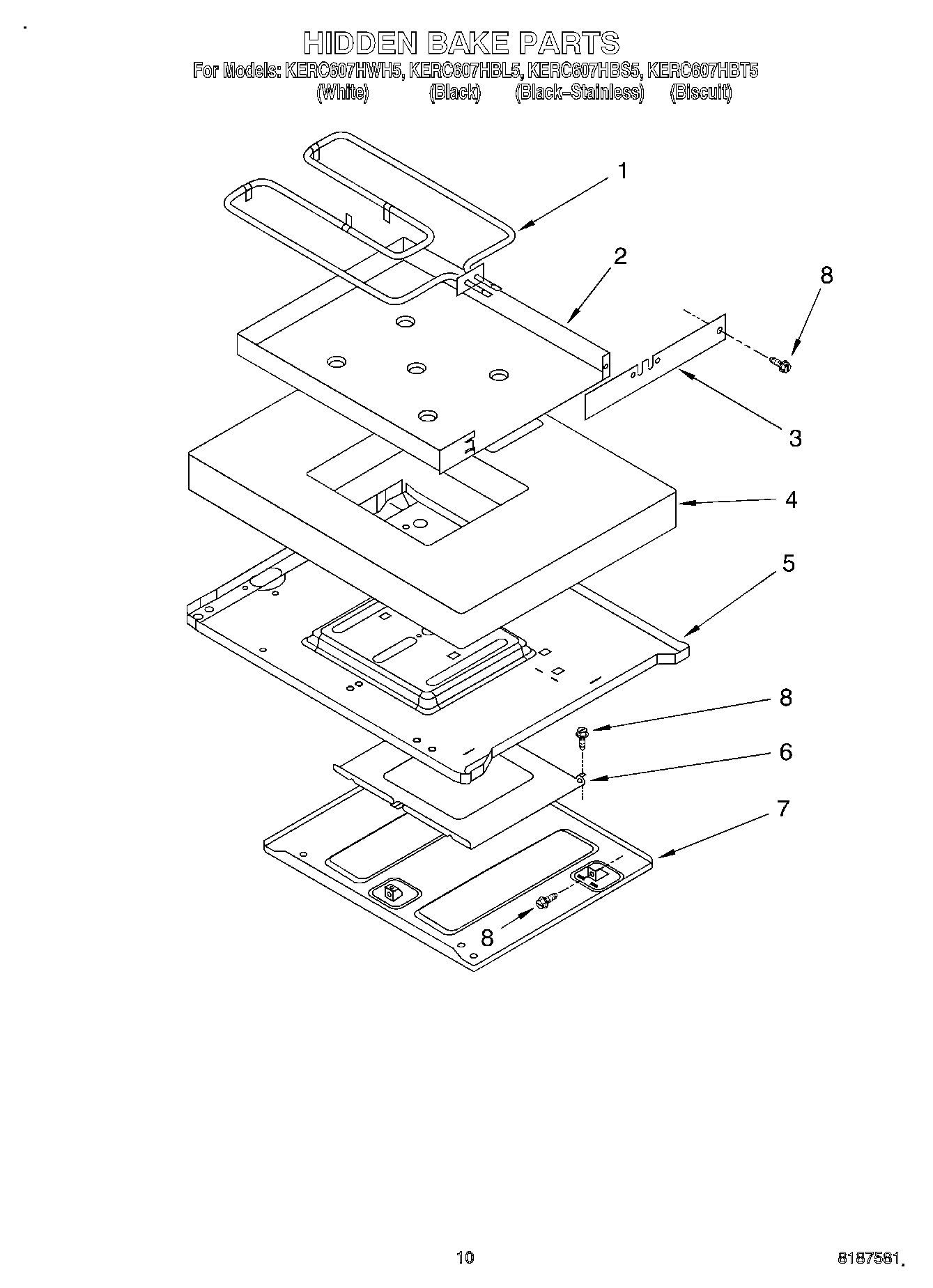
KERC607HBT5 07 – HIDDEN BAKE, OPTIONALadmin2025-04-26T09:53:04+00:00KERC607HBT5 07 – HIDDEN BAKE, OPTIONAL ProductsPositionProduct1Element, Bake2Pan, Hidden Bake3Cover, Hidden Bake4Insulation5Retainer, Insulation6Plate, Reflector7Shield8Wire (14 Ga. 150 c Orange)8Wire (14 Ga. 150 c Yellow)8Wire (12 Ga. 150 c Black)8Wire (14 Ga. 200 c Brown)8WPL 9753683818 Ga. 80~c Rating (Red)818WPL 978208088212471 Whirlpool Oven Paint8WPL 97821278WPL 97533748WPL 97816568WPL 97821838WPL 97817698WPL 97817678WPL 97518688WPL 97517508WPL 97821288Wire (14 Ga. 150 c Green)8Wire (14 Ga. 150 c Brown)8Wire (14 Ga. 150 c Blue)8511873 Whirlpool Refrigerator Paint84392901 Whirlpool Biscuit Spray Paint84392899 Whirlpool Biscuit Touch-Up Paint8350942 Whirlpool Spray Paint8SCREW8WP90016 Whirlpool Clip8Almond (Uncut)8WP72107 Whirlpool Touchup8799344 Whirlpool Refrigerator Paint872017 Whirlpool Appliance Touch-Up Paint White8350956 Whirlpool Spray Assembly8PAINT, BULK (1 QT.) (BISCUIT (UNCUT))8WPL 7998328242831 Whirlpool Oven Wire83400964 Whirlpool Oven Clip8WPL 97517458WPL 97503768WP4159387 Whirlpool Compactor Screw8W10355051 Whirlpool Cooktop Cleaner Affresh (10 Oz)8285006 Whirlpool Spray8WPW10339879 Whirlpool Wire Tie8Wire, 25`` Roll (White 14 GA.)8Wire, 25` Roll (Red 14 Ga.)8Wire, 25` Roll (Black 14 Ga.)8350930 Whirlpool White Spray Paint