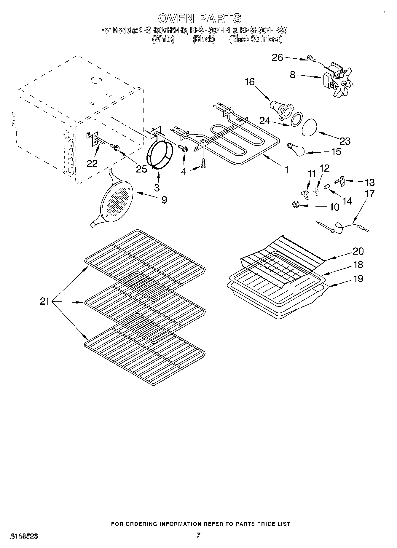
KESH307HBL3 05 – OVEN