KESH307HBS3 02 – CONTROL PANELadmin2025-04-26T09:45:56+00:00KESH307HBS3 02 – CONTROL PANEL
Products
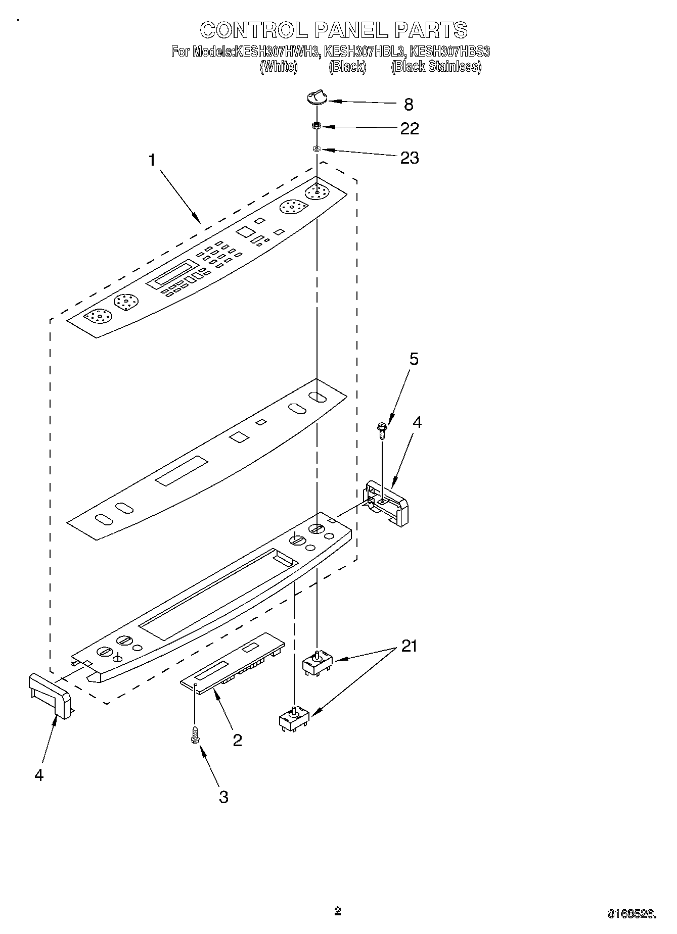
| Position | Product |
|---|
| 1 | Console, Glass (White) |
| 1 | Console, Glass (Black) |
| 2 | Timer, Electronic |
| 3 | Screw |
| 4 | End Cap (Right Hand) (White) |
| 4 | End Cap Right Hand (Black) |
| 4 | (End Cap Left Hand) (White) |
| 4 | (End Cap Left Hand) (Black) |
| 5 | WP4159387 Whirlpool Compactor Screw |
| 8 | WP9750372FF Whirlpool Knob |
| 8 | WP9750372FW Whirlpool Knob Assembly |
| 21 | Switch, Infinite (2100-2600W, LF) |
| 21 | Switch, Infinite (1250-1500W, LR) |
| 21 | 8203536 Whirlpool Infinite Switch Primary |
| 21 | Switch, Infinite (1700W, RF) |
| 22 | Nut, Mounting (Single Element) |
| 22 | Nut, Mounting (Dual Element) |
| 23 | Seal, Switch (4) |