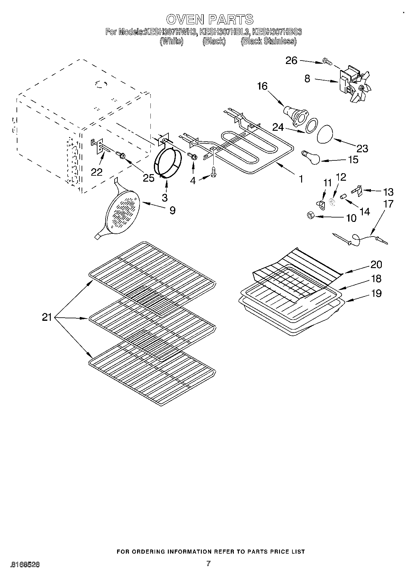
KESH307HBS3 05 – OVEN