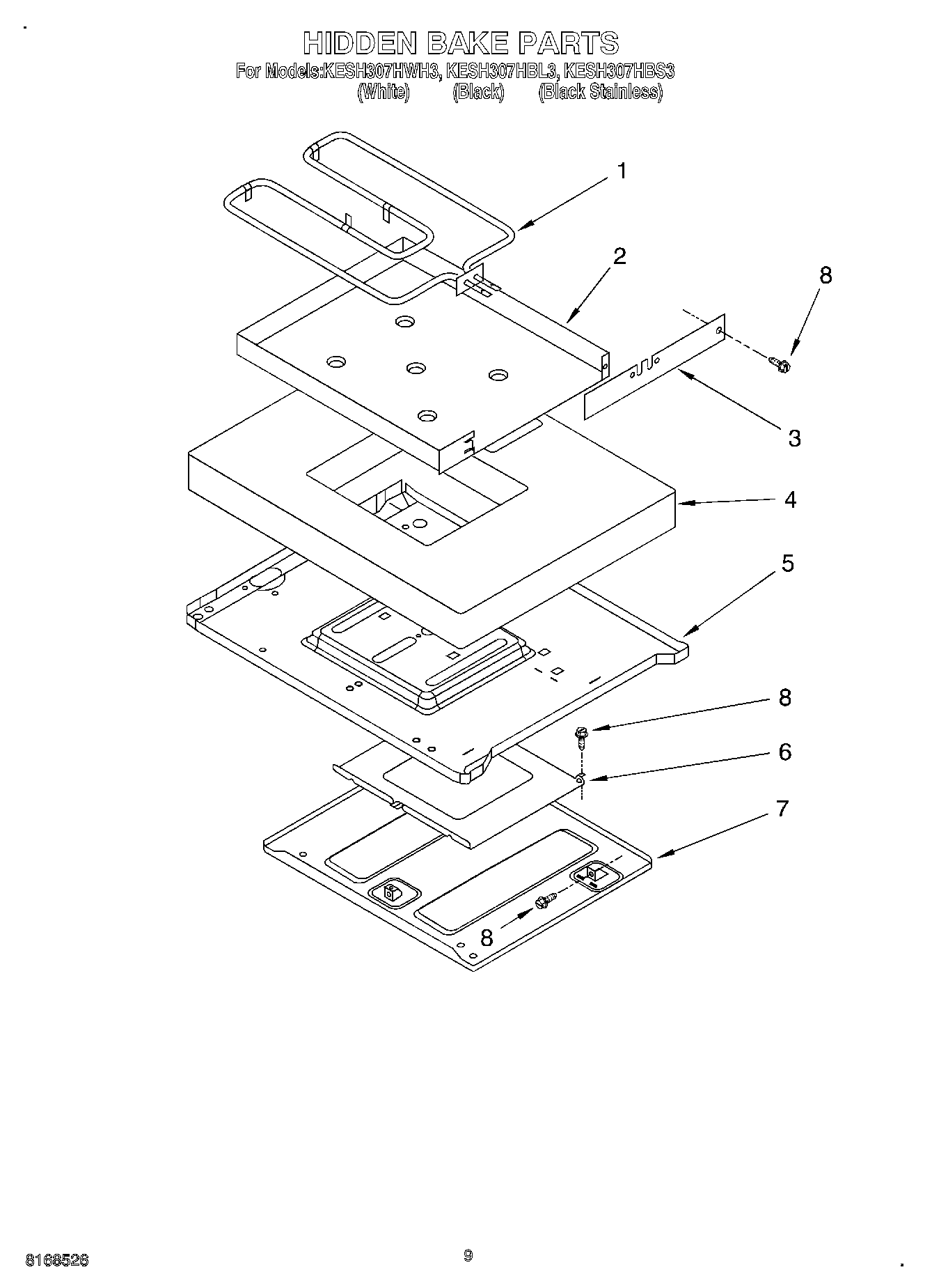
KESH307HBS3 07 – HIDDEN BAKE, OPTIONAL

KESH307HBS3 07 – HIDDEN BAKE, OPTIONAL