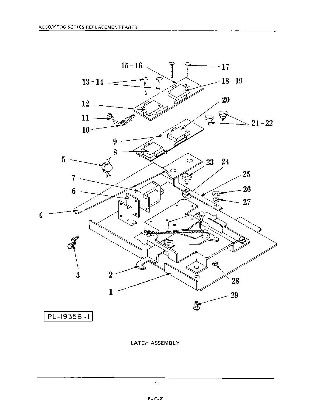
KESO170S 05 – LATCH ASSEMBLYadmin2025-04-26T09:46:48+00:00KESO170S 05 – LATCH ASSEMBLY
Products
| Position | Product |
|---|
| 1 | Latch Mounting Plate |
| 2 | Latch Mechanism |
| 3 | Screw No.10-24 x 3/8`` Hex TCS |
| 4 | Latch Lever |
| 5 | Thermal Switch |
| 6 | Solenoid Spacer |
| 7 | Solenoid |
| 8 | Latch Switch with Roller |
| 10 | Solenoid Spring |
| 11 | Cotter Pin |
| 12 | Latch Switch, Normally Closed KEDO-245/275 |
| 14 | Screw - No.4-40 x 9/16`` RHMS - Slotted KESO-140/145, KESO-170/175 |
| 15 | Insulator KESO-140/145, KESO-170/175, KEDO-240/270 |
| 16 | Insulator KEDO-245/275 |
| 17 | Screw - No.4-40 x 1-1/8`` RHMS - Slotted |
| 19 | Latch Switch, SPDT KESO-145/175 Upper Oven KEDO-245/275 |
| 20 | Latch Switch, Normally Open |
| 21 | Shoulder Screw, Latch Lever KESO-140/145, KESO-170, KESO-175 Upper Oven KEDO-245/275 |
| 22 | Shoulder Screw, Latch Lever Lower Oven KEDO-245/275 |
| 23 | Shoulder Screw, Actuator Arm |
| 24 | Spacer, Actuator Arm |
| 25 | Actuator Arm |
| 26 | Retaining Ring |
| 27 | Washer, Flat |
| 28 | Nut, 10-24 Hex Kep |
| 29 | Screw, 10-24 x 3/8`` PTHMS |