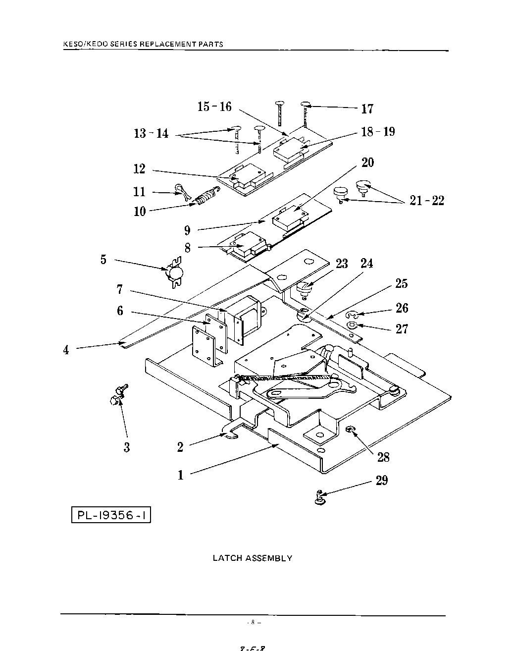
KESO175S 05 – LATCH ASSEMBLY