KF200GDH1 04 – BODY, SIDE PANELSadmin2025-04-26T10:06:50+00:00KF200GDH1 04 – BODY, SIDE PANELS
Products
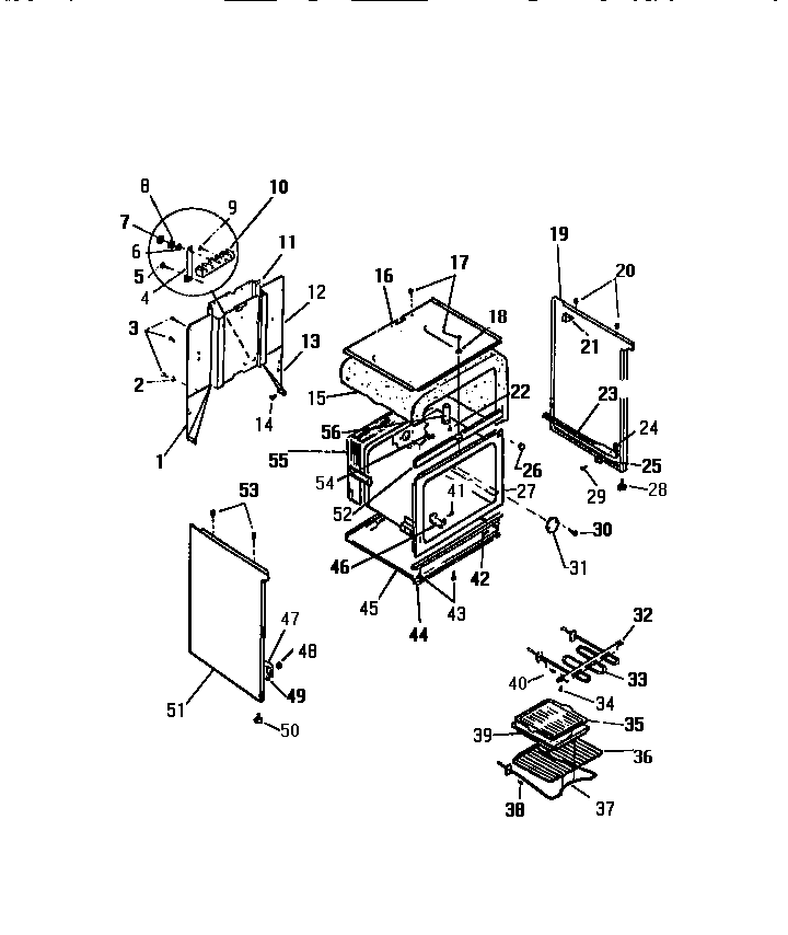
| Position | Product |
|---|
| 1 | WCI K1325183 |
| 2 | WCI Q410505 |
| 4 | STRAP-GROUND |
| 6 | WASHER (6) |
| 7 | WCI Q401002 |
| 8 | WCI Q500411 |
| 10 | TERMINAL BLOCK |
| 11 | COVER, WIRE |
| 12 | BACK |
| 13 | WCI K1325182 |
| 15 | INSULATION, WRAP |
| 16 | WCI K5025704 |
| 18 | WASHER, PADDED |
| 19 | WCI K1325231 |
| 21 | WCI KK1315230 |
| 22 | SCREW |
| 23 | RAIL, DWR., RH |
| 26 | PLUG-BUTTON 3/4`` |
| 27 | WCI K1325537 |
| 29 | WCI K1164589 |
| 31 | WCI K1325524 |
| 32 | HANGER |
| 33 | 5303051516 Frigidaire Broil Element |
| 35 | WCI K1303481 |
| 36 | RACK (2) |
| 37 | 5303051519 Frigidaire Oven 2600W Bake Element |
| 39 | WCI K1303482 |
| 41 | 08002868 Frigidaire 0 Screw Assembly |
| 42 | SCREW |
| 44 | CHANNEL, OV. SUPT. |
| 45 | PANEL, BTM |
| 46 | BRACKET THERM. BULB |
| 47 | RAIL, DWR, LH |
| 48 | GUIDE |
| 49 | SPACER, RAIL |
| 50 | WCI Q13325 |
| 51 | WCI K1325232 |
| 52 | CHANNEL, OV SUPT. |
| 53 | WCI K1315013 |
| 55 | INSULATION, BACK |
| 56 | WCI K1315196 |