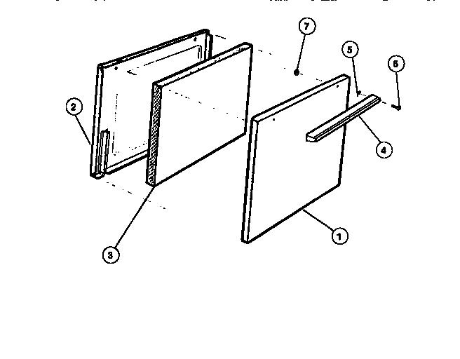
KF201HDW5 04 – DOORadmin2025-04-26T10:11:27+00:00KF201HDW5 04 – DOOR ProductsPositionProduct1PANEL-DOOR WHITE2PANEL-INTERIOR DOOR3INSUL-OVEN DOOR4WCI 080138815SPACER HANDLE (2)65303292012 Frigidaire Oven Screw75303013272 Frigidaire Oven Nut