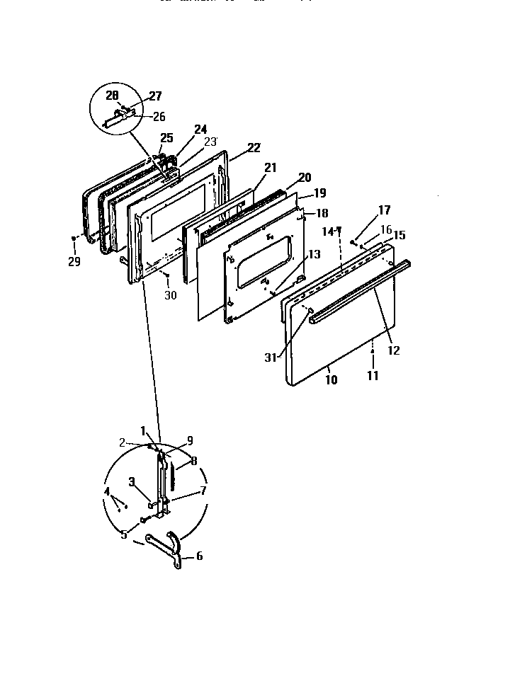
| 3 | RIVET |
| 5 | AXLE |
| 6 | ARM ASSY. |
| 7 | ROLLER PACKAGE-OVEN DOOR (2) |
| 8 | WCI K1302501 |
| 9 | CHANNEL ASSY (COMPLETE W/ROLLER & STUD) |
| 10 | WCI K1317745 |
| 12 | HANDLE - DRAWER (CHROME) |
| 13 | WCI K1164557 |
| 15 | PANEL-INSULATOR PAD |
| 16 | WCI Q410505 |
| 17 | WCI K5104201 |
| 18 | WCI K1323173 |
| 19 | WCI K1313020 |
| 20 | WCI K1322652 |
| 21 | WCI K1322651 |
| 22 | WCI K1324721 |
| 23 | WCI K1322622 |
| 24 | GASKET |
| 25 | WCI K1322616 |
| 26 | STRIKE ASSEMBLY |
| 27 | WASHER, PADDED |
| 28 | WCI K1164550 |
| 29 | WCI KGM142001 |
| 30 | 08002868 Frigidaire 0 Screw Assembly |
| 31 | SPACER (2) |