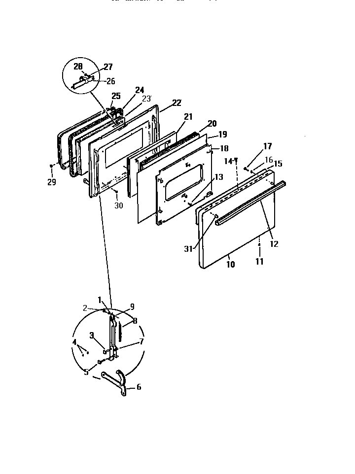
KF350GDV1 04 – DOOR