KF404GDD2 05 – BODY, SIDE PANELSadmin2025-04-26T10:03:13+00:00KF404GDD2 05 – BODY, SIDE PANELS
Products
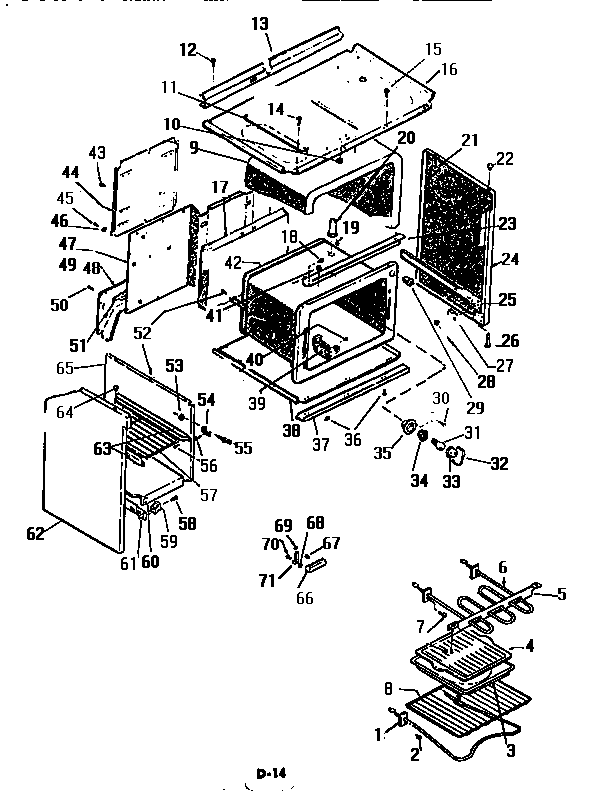
| Position | Product |
|---|
| 1 | 5303051519 Frigidaire Oven 2600W Bake Element |
| 3 | WCI K1317973 |
| 4 | WCI K1317972 |
| 5 | HANGER |
| 6 | 5303051516 Frigidaire Broil Element |
| 8 | RACK (2) |
| 9 | INSULATION, WRAP |
| 10 | WASHER, PADDED |
| 11 | ROD |
| 13 | SHIELD, WIRING |
| 14 | SCREW |
| 16 | WCI K1323564 |
| 17 | INSULATION, BACK |
| 19 | SCREW |
| 20 | WCI K1311218 |
| 21 | GUSSET, BACKGRD (2) |
| 22 | BUMPER |
| 23 | WCI K5048201 |
| 24 | END PANEL, RH, ALMOND |
| 25 | RAIL, DWR., RH |
| 26 | LEG |
| 29 | WCI K5294301 |
| 31 | WCI Q63749 |
| 32 | RETAINING WIRE |
| 33 | 5304524341 Frigidaire Lens |
| 34 | 316116400 Frigidaire Oven Light Socket |
| 35 | CUP, OVEN LT |
| 37 | WCI K1316113 |
| 38 | PANEL, BTM |
| 39 | BRACKET THERM. BULB |
| 40 | 08002868 Frigidaire 0 Screw Assembly |
| 41 | 5303013272 Frigidaire Oven Nut |
| 42 | WCI K5024704 |
| 44 | COVER, WIRE |
| 46 | WCI Q410505 |
| 47 | BACK, RANGE |
| 48 | GUSSET REAR, LH |
| 49 | GUSSET, RH |
| 51 | WCI K1307085 |
| 53 | WCI KGM271166 |
| 54 | WCI K5138301 |
| 55 | WCI K1324043 |
| 57 | WCI K1311283 |
| 59 | GUIDE |
| 60 | WCI K1315129 |
| 61 | RAIL, DWR, LH |
| 62 | END PANEL, LH, ALMOND |
| 63 | WCI K1315199 |
| 64 | WCI K5406901 |
| 65 | WCI K5157802 |
| 66 | TERMINAL BLOCK |
| 67 | SCREW |
| 68 | WASHER (6) |
| 69 | WCI Q401002 |