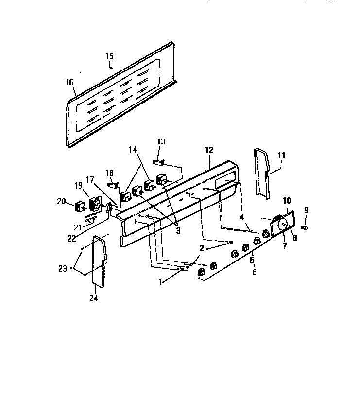
KF404GDH1 02 – BACKGUARD