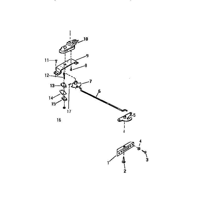
KF460GDW2 05 – DOOR LATCH ASSEMBLYadmin2025-04-26T10:07:49+00:00KF460GDW2 05 – DOOR LATCH ASSEMBLY ProductsPositionProduct1HOUSING, DOOR LATCH2AXLE3WCI K11645504WASHER, PADDED5WCI K52602026WCI K52712017WCI K51516058WCI K51516049SUPPORT10WCI K51516031108002868 Frigidaire 0 Screw Assembly12WCI K515161013SWITCH-LOWER14INSULATOR15WCI K1167190165303013272 Frigidaire Oven Nut17WCI K5151606