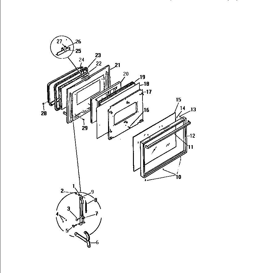
KF560GDF2 04 – DOOR