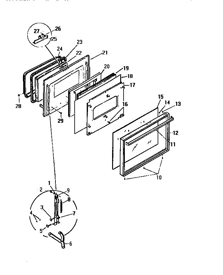
KF560GDF3 04 – DOOR