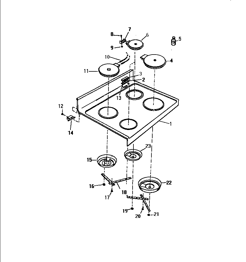
KF590HDD1 03 – TOP, DRAWERadmin2025-04-26T11:47:05+00:00KF590HDD1 03 – TOP, DRAWER ProductsPositionProduct1WCI K52735052WCI K51308013WCI K51309014WCI K51340015WCI K51557016WCI K51293017WCI K11679798WCI K11679789WCI K116797710WCI K500020211WCI K512950113WCI K116456714WCI K502490115WCI K512970116WCI K512990118WCI K51298012008002868 Frigidaire 0 Screw Assembly21WCI K513000122WCI K512960223WCI K5134101